La patente de estas gafas de AR/VR de HUAWEI incluyen un anillo que se desacopla para controlarlas
por Juan Antonio SotoDesde el lanzamiento de las gafas de realidad aumentada de Apple, las Vision Pro, los fabricantes parece que han querido copiar esta tendencia. Recientemente hemos visto como Samsung también se ha introducido en este mundo con sus nuevas gafas Galaxy XR, una tendencia que ahora parece también seguirá HUAWEI. Según la nueva patente registrada por la marca china, está detrás de un juego de gafas de realidad aumentada con una característica especial, un anillo que podrás desacoplar para controlar las gafas.

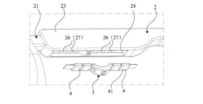
La patente de HUAWEI incluye un controlador integrado que podrás desacoplar
La patente deja ver como un anillo está acoplado directamente a las gafas, donde podrás usarlo para controles básicos de este set como tocar y deslizar. Pero la ventaja es que lo podrás quitar y ponerlo en tus dedos como un anillo, donde ofrecerá control sobre la interfaz de estas gafas, haciendo un uso más sencillo sin necesidad de usar mandos adicionales.

Un anillo que podrás ponerte para controlar las gafas
Una opción de la que depende su buen funcionamiento a la hora de reconocer gestos y movimientos, para un buen funcionamiento en general prescindiendo de gamepads o mandos por separado. Mientras está acoplado también recargará su batería, dejándolo listo para usar cuando no tiene puestas las gafas.

Mientras está acoplado recargará su batería
Pero por el momento esto es solo una patente, no se conoce si HUAWEI decidirá lanzar al mercado este novedoso sistema incluido en unas gafas de AR/VR. Un registro no indica que se vaya a ver el producto final en el mercado, pero sí que es una buena idea para incorporar un controlador de las gafas sin tener que cargar con otros accesorios adicionales.
Fin del Artículo. ¡Cuéntanos algo en los Comentarios!




